Constitution et fonctionnement
Alimentation en carburant
La pompe à rouleaux immergée refoule du carburant qui est filtre à la sortie du Réservoir puis conduit jusqu'au boitier papillon (monopoint) ou à la rampe d'injection (multipoints) où il traversé l'injecteur et passe par le régulateur de pression. Sur les moteurs à injection monopoint, le régulateur maintien la pression à une valeur fixe de 0,76 bar sous l'action d'un ressort. Sur les moteurs à injection multipoints, le régulateur maintien constant la difference de pression entre le carburant et le collecteur d'admission (amont et aval de l'injecteur).
Ceci est réalise gréce à l'action d'un ressort assistée de la pression qui regne dans le collecteur d'admission. L'excedent de carburant repart au Réservoir par une canalisation. Le bouchon de Réservoir est totalement hermetique et la mise à l'air libre s'effectue par une canalisation qui relie la goulotte de remplissage au Réservoir à charbon actif. Le Réservoir i charbon actif (ou canister) permet un echange de pression entre le Réservoir à carburant et l'atmosphere tout en piegeant (es hydrocarbures. Une canalisation entre le boitier papillon et le r&ervoir à charbon actif permet la reaspiration Dès vapeurs d'nydrocarbures lorsque le moteur fonctionne. Une vanne pneumatique, ou une electrovanne Commandee par le calculateur (c16xe) n'autorise la reaspiration que sous certaines conditions de fonctionnement du moteur (température, chargé etc...).

Principe de fonctionnement du générateur d'impulsions à effet hall.
Alimentation en air
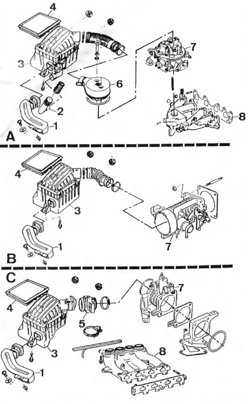
L'air frais est épuré par un filtre à élément en papier. Sur le moteur c16xe, l'air travers le débitmêtre massique à fil chaud chargé de mesurer la quantite d'air admise par le moteur. La veine d'air passe par le boitier papillon qui adapte la quantite d'air gréce au papillon qui genere une perte de chargé dans le circuit.
Un canal en derivation au papillon permet de reguler le régime de ralenti lorsque le papillon est en appui sur sa butée repos et assure la fonction d'air additionnel en départ à froid. C'est un moteur pas à pas à deux enroulements et Commande par le calculateur qui au moyen d'un boisseau regle le débit dans le canal. Le recyclage Dès vapeurs d'huile s'effectue par deux canaux, l'un pris en amont du papillon Dès gaz pour les fortes chargés et l'autre en aval pour les faibles chargés.
Gestion moteur
Sondes et capteurs
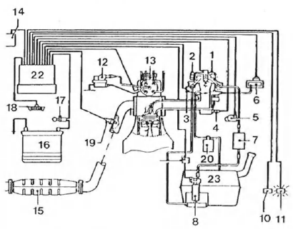
Moteurs c12nz et c14nz injection monopoint multec
Le générateur de hall est incorporé au distributeur. Il est constitué d'un élément fixe, la b arrière magnetique, et d'un élément mobile, le rotor.
La barrière magnetique se compose d'un aimant permanent monte sur le plateau et du detecteur de hall, ou circuit intégré de hall, placé face à l'aimant sur un support en ceramique. Le rotor comprend 4 téles (ou ecrans) correspondant au nombre de cylindres du moteur: lorsqu'il tourne, les téles passent dans l'entrefer existant entre l'aimant et le detecteur de hall. Quand' une tolepénètre dans l'entrefer, cela a pour effet de detourner le champ magnetique et d'interrompre l'effet hall dans le detecteur. Dès que l'effet hall cesse, le transistor de declénchement devient conducteur et laisse passer le courant primaire dans la bobine. Lorsque la téle a termine son passage devant l'aimant, le champ magnetique agit de nouveau, le courant primaire est interrompu, ce qui donne naissance, comme dans toute bobine classique, à un courant haute tension dirigé vers les bougies.
La largeur dès téles correspond à l'angle de cames, c'est-é-dire qu'il demeure constant et ne necessite aucun réglage.
Il est alimente sous une tension de 5v et restitue une tension variable suivant la pression.

Générateur à effet hall


Injection monopoint multec

Allumage
Moteur c14se injection multipoint multec-m

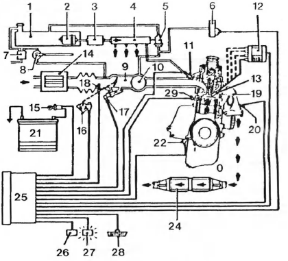
Injection multipoint séquentielle simultanee multec-m.

Moteur c16xe injection multipoint multec-s
Débitmêtre à (il chauffant: placé en aval du filtre à air, il mesure la quantite d'air aspiree par le moteur.
Commande dès organes
Relais de pompe a carburant
Le calculateur Commande la ferméture du relais de pompe à carburant lorsqu'il regoit une information régime moteur (signal de hall ou générateur d'impul-sion).

F1. Fusible - FL 3. Fusible - H30. Témoin d'alerte - K20. Module d'allumage -K58. Relais de pompe à carburant - K100. Calculateur - LI. Bobine d'allumage -M21. Pompe à carburant - M33. Régulateur de ralenti - P23. Capteur de pression absolue - P30. Sonde de température de liquide de refroidissement -P33. Sonde lambda - P34. Potentiomêtre de papillon - Y10. Capteur à effet hall/distributeur - Y32. Injecteur - X11. Connecteur (14 péles) -X13. Connecteur de diagnostic (10 péles) - X15. Fiche de codage d'indice d'octane (3 péles)
Njecteur
La pression d'alimentation étant regulee à une valeur fixe, le seul paramêtre qui influence la quantite injectee est la duree d'ouverture de l'injecteur. Le calculateur determine la quantite d'air aspiree par le moteur (pression collecteur et position papillon ou débitmêtre à fil chaud) et adapte la richesse par la duree de l'impulsion envoyee à l'injecteur. Lorsque le venicule roule à une vitesse superieur à 50 km/h et que le papillon est en position ralenti (deceleration), le calculateur interrompe les impulsions à l'injecteur.
Moteurs c12nz et c14nz injection monopoint multec
L'injecteur unique placé dans le boitier papillon alimente les auatre cylindres.
Il est Commande en fonction Dès impulsions du signal de hall, deux fois par tour.
Moteur c14se injection multipoint multec-m
Un injecteur par cylindre fixe sur le collecteur d'admission en amont de la soupape.
Les injecteurs sont Commandes simultanément par couple (1-2 et 3-4).
Moteur c16xe injection multipoint multec-s
Un injecteur par cylindre fixe sur le collecteur d'admission en amont de la soupape.
Les injecteurs sont Commandes individuellement par le calculateur et ceci de fagon synchronisee avec la distribution. Le phasage est realisable gréce à la combinaison du capteur inductif de vilebrequin qui identifie les pmh Dès cylindres et celui d'arbre à cames qui detecte le pmh compression du cylindre n1. L'injection se poursuit suivant l'ordre d'allumage.
Régulateur de ralenti
C'est un moteur pas à pas fixe au boitier papillon et qui agit sur un pointeau, chargér de faire varier la section d'un canal en derivation du papillon. La variation du débit de ce canal permet de maintenir constant le régime de ralenti quelque soit la chargé.
Commande de l'allumage
Les valeurs d'avance, en fonction Dès parametrès moteur, sont memorisees dans le calculateur. Celui-ci pilote, via le module de puissance, le circuit primaire de la bobine avec l'avance retenue pour les conditions instantanees de fonctionnement du moteur.
Moteurs c12nz et c14nz injection monopoint mulltec
La haute tension de la bobine est acheminee au cylindre concerne par le distributeur qui est entraine par l'arbre à cames.

Identification Dès bornes Dès connecteurs du calculateur sur injections
multec et multec-m.

Alimentation en carburant

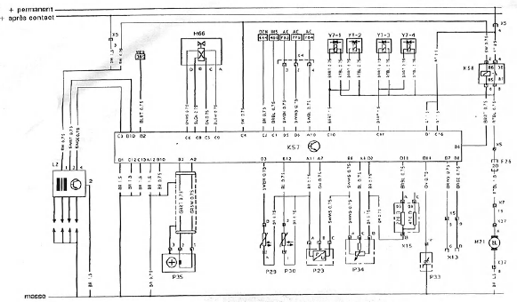
Schema eledrique du système d'injection multec-m.
F26. Fusible (20 a) - K57. Calculateur - K58. Relais de pompe à carburant - L2. Ensemble bobine/module - M21. Pompe à carburant - M66. Régulateur de ralenti - P23. Capteur de pression absolue - P29. Sonde de température d'air - P30. Sonde de température de liquide de refroidissement - P34. Potentiomêtre de papillon Dès gaz - P35. Capteur de vitesse et position vilebrequin - X4. Connecteur tableau de bord et moteur (4 péles) - X5. Connecteur tableau de bord et moteur (9 péles) - X7. Connecteur tableau de bord et carrosserie (50 péles) - X13. Connecteur de diagnostic (10 péles) - X15. Fiche de codage d'indice d'octane (3 péles) - X37. Connecteur carrosserie arrière et Réservoir (5 péles) - Y7. Injecteurs.

Schema eledrique du système d injedion multec-s.
F26. Fusible (20 a) - K57. Calculateur - K58. Relais de pompe à carburant - L2. Ensemble bobine/module - M21. Pompe à carburant - M66. Régulateur de ralenti - P30. Sonde de température de liquide de refroidissement - P32. Sonde lambda - P34. Potentiomêtre de papillon Dès gaz - P35. Capteur de vitesse et position vilebrequin - P46. Capteur de cliquetis - P47. Capteur de position arbre à cames - P52. Débitmêtre massique d'air - X4. Connedeur tableau de bord et moteur (4 péles) - X5. Connedeur tableau de bord et moteur (9 péles) - X10. Connedeur tableau de bord et carrosserie (5 péles) - X13. Connecteur de diagnostic (10 péles) - X37. Connecteur moteur et appareil de Commande - y7-1. Injedeur cylindre 1 - Y7-2. Injedeur cylindre 2 - Y7-3. Injedeur cylindre 3 - Y7-4. Injedeur cylindre 4. Y34. Eledrovanne de recyclage Dès vapeurs de carburant.
Moteurs c14se et c16xe injection multipoint multec-m et multec-s
Le calculateur comporte deux sorties, une pour le couple de cylindres 1 et 4 el une pour le couple 2 et 3. Elles Commandent les modules de puissance intégrés aux bobines haute tension. Lorsque le module interrompe le courant primaire dans l'une Dès bobines, il se produit un courant induit haute tension dans le secondaire. Chacune Dès extremites du circuit secondaire est relie à une bougie d'un même couple de cylindre, si bien qu'il se produit simultanément une etincelle au cylindres qui se trouvent en même temps au pmh. L'etincelle qu apparait lors de la phase d'échappement est perdue. Ce système, hormis le générateur d'impulsion, est totalement statique.
Electrovanne de recyclace Dès vapeurs de carburant (moteur c16xe)
Le calculateur Commande une electrovanne placée sur la canalisation entre le Réservoir à charbon actif (canister) et le boitier papillon. Elle permet, lorsqu'elle est ouverte, l'aspiration par le moteur Dès hydrocarbures contenus dans le canister et qui proviennent de l'evaporation du Réservoir. L'electrovanne ne sera ouverte que sous certaines conditions (régime, température etc...) Afin de ne pas perturber le fonctionnement du moteur.
Relais de climatisation

Identification Dès bornes Dès connecteurs du calculateur sur injection
multec-s.
Ciue la puissance prise par le compresseur ne perturbera pas le fonctionnemenl du moteur, auquel cas il n'autorise pas sa mise en marche. Lors du fonctionnement au ralenti, si le climatiseur est sollicit?, le régime est préalablement rélevé par le moteur pas à pas avant d'enclenchér le compresseur.
Autodiagnostic
Le calculateur comporte une fonction de surveillance de ses p^ripheriques (Sondes, capteur et indirectement faisceaux) qui memorise le ou les dysfonctionnement eventuels. La lecture de cette memoire n'est possible qu'avec l'appareillage du constructeur.
Dépose-repose du distributeur d'allumage (moteurs c12nz et c14nz)
Cette opération ne pose pas de difficulte.
Toutefois, avant la Dépose, effectuer Dès repères de position entre le corps du distributeur et le boitier d'arbre à cames. Les tocs d'entramêment sont pourvus de detrompeurs qui evitent les erreurs à la repose.
Contrôle et Dépose-repose d'un capteur d'impulsions à inauction
Contrôle de l'entrefer
Tourner la poulie de vilebrequin de fagon à ce qu'une dent se trouve juste dans l'axe du capteur.
Dépose-repose

Mesure de l'entrefer du capteur de régime et position vilebrequin.
Dépose-repose du capteur de cliquetis (moteur c16xe)
Dépose
Repose
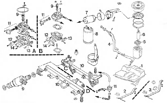
Dépose-repose de la pompe à carburant
Dépose
Berline
Nota : la pompe à carburant est immergée dans le Réservoir. Elle est accessible par l'habitaclé.
Combo
Tous types
Repose

Alimentation en air
Remplacément du filtre à essence
Nota : le filtre à essence se trouve sous le véhicule entre le Réservoir et le bas de caisse droit.
Diagnostic du système d'injection/allumage

Localisation du filtre à carburant et debranchement Dès canalisations.
Respecter le sens de la fleche, vers le moteur.
Il est indispensable de disposer d'un appareil de performances au moins equivalentes pour mener à bien le diagnostic.
Utilisation de la procedure de diagnostic

Identification Dès éléments de l'injection multec
Important:

Localisation du filtre à charbon actif dans le passage de roue droit.
Contrôle s preliminaires
Circuit de detnarrage en état: batterie, céblage et démarreur.
Carburant conforme et en quantite suffisante.
Filtre à carburant propre et monte correctement.

Identification Dès bornes du connecteur du relais de pompe a carburant

Lotalisation d'éléments de l'injection multec-s.

Identification Dès bornes du connecteur de diagnostic (sur platine à
fusibles).
Canalisations de recyclage Dès vapeurs de carburant etanches et non pincees.
Circuit d'alimentation en a i r : étanchéité Dès canalisations, étanchéité Dès pièces entre elles (joints de collecteur, de boitier papillon, etc...), Filtre à air propre et en placé, clapet thermostatique du boitier de filtre fonctionnant.
Réglage du câble d'accélerateur : retour en position ralenti et ouverture maxi du papillon.
Canalisations de recyclage Dès vapeurs d'huile : étanchéité, calibreurs en placé et de bon diamêtre.
Circuit d'assistance Dès freins etanche et clapet de retenue en état.
Moteur en état Mécanique (compression etc...).

Localisation de la sonde de température de liquide de refroidissement
sur moteurs c12 et c14.
Bougies en état et conformes à la preconisation.
Fusible principal du système injection/ allumage en état.
Tableau de Contrôle Dès organes en fonction Dès symptom es
| Nota : si au terme de ia procedura les Contrôle s n'ont rélevé aucune anomalie et que les symptémes persistent, effectuer la totalite Dès Contrôle s decrits dans les pages qui suivent et seulement en dernier lieu remplacér le calculateur. |

Procedure et Contrôle s
Alimentation électrique
Ce Contrôle consiste à Vérifier si le système d'injection/allumage est alimente correctement.
Moteurs c12nz et c14nz iniection multec

Moteur c14se injection multec-m

Moteur c16xe injection multec-s

Contrôle s Dès Sondes, capteurs, electrovannes et faisceaux
Ces Contrôle s doivent être effectues depuis le connecteur du calculateur apres l'avoir debranche.
Moteurs c12nz et c14nz iniection multec

Wloteur c14se injection multec-m

Moteur c16xe injection multec-s

Contrôle de [.'Alimentation Dès Sondes, capteurs et electrovannes depuis le calculateur
Ces Contrôle s doivent être effectues connecteur branche sur le calculateur.
Moteurs c12nz et c14nz injection multec

Moteur c14se injection multec-m

Wloteur c16xe injection multec-s

Controle de l'allumage
Controle et réglage du point d'avance initial
Nota : il est possible de Contrôler le point d'avance sur tous les véhicules mais il n'est reglable que sur les moteurs c12nz et c14nz.

Controle du capteur de pression absolue à l'aide du multimêtre metrix
mx 63.
Contrôle de L'alimentation en carburant

Contrôle d'un ensemble module/bobine
Nota : sur les bobines equipant les moteurs c14se et c16xe, il n'est pas possible de mesurer la resistance du circuit primaire puisque celuici est interne au bloc bobines-amplificateur.

Contrôle de la bobine d'allumage
Jeu aux soupapes
Travaux ne nécessitant pas la Dépose du moteurRemontage de la boite de vitesses
Lubrifier l'alesage de taxe de marche arrière et positionner taxe de pignon
de marche arrière avec sa bille de sécurité incorporée jusqu'en
butée dans le
carter palier.
Placér le carter sur un support approprie.
Introduire ...
Contrôle et réglage du point milieu du boitier de direction
Nota : cette opération est à faire systematiquement à la
suite d'une intervention, Dépose-repose ou Dèsassemblage, sur le boitier ou la colonne
de direction.
La position milieu est obtenue lorsque la cote entre "c" est de 420 +- 2
mm sur une di ...
Système d'airbag latéral
Le système d'airbags latéraux se compose d'un airbag dans chacun des dossiers
de siège avant. Ils sont reconnaissables à l'inscription AIRBAG.
Le système d'airbag latéral se déclenche en cas d'un accident d'une certaine
gravité. Le con ...