Le montage Dès poussoirs hydrauliques rend le réglage du jeu aux soupapes inutile.
Dèscription
La Commande Dès soupapes est différente entre les moteurs 8 et 16 soupapes.
Sur les moteurs à 8 soupapes l'unique arbre à cames actionne les soupapes par l'intermediaire de linguets. Les linguets sont articules sur Dès poussoirs hydrauliques qui les maintiennent en permanence en contact avec les cames. Sur les moteurs à 16 soupapes, il y a un arbre à cames pour les soupapes d'échappement et un autre pour les soupapes d'admission. Les arbres à cames sont placés directement au-Dèssus Dès soupapes, un poussoir est intercale entre eux et permet d'annuler le jeu à lout instant.

Poussoir hydraulique (moteur 8 soupapes).
Constitution et fonctionnement
Les poussoirs Dès différentes moteurs sont sensiblement identiques dans leur composition et pour cette raison leur fonctionnement est semblable . Seuls les poussoirs Dès moteurs 16 soupapes sontdétaillés dans les lignes qui suivent.

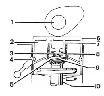
Poussoir hydraulique (moteur 16 soupapes).
Constitution
Le poussoir hydraulique se compose essentiellement de deux pièces mobiles :
La pression exercée par le ressort (9) ecarte ces deux pièces de maniere à annuler les jeux.
La soupape anti-retour (3) assure le remplissage et l'étancheite de la chambre haute pression (5).
Fonctionnement
Au debut de l'ouverture de soupape, la came attaque le poussoir, la soupape anti-retour se forme et la pression augmente dans la chambre haute pression.
Cette hausse de pression ne provoque cependant pas de variation du volume d'huile dans la chambre. Le poussoir agit clonc comme un élément rigide.
A l'ouverture de la soupape, la came exerce une forte pression sur le poussoir, ce qui entraine une augmentation de pression dans la chambre. Une petite quantite d'huile s'echappe par le jeu existant entre le cylindre et le piston. Ceti provoque une compression du poussoir de 0,1 mm maxi pendant la levee, ce qui est une necessite de construction afin que le poussoir puisse s'adapter, memo si la cote enlre la came et la soupape diminue.

Phases de fonctionnement d'un poussoir hydraulique.
Allumage et alimentationRabattement du siège
Soulever la poignée de déverrouillage et basculer le dossier vers l'avant. Abaisser
la poignée de déverrouillage et le dossier s'engage en position basse. Coulisser
le siège vers l'avant.
Pour ramener le dossier dans sa position verticale d'origine : Soule ...
Affichage d'informations graphique, affichage d'informations couleurs
Affiche l'heure, la température extérieure et la date ou bien des données de
l'Infotainment System si celui-ci est allumé ainsi que de la climatisation automatique.
L'affichage Colour-Info-Display affiche les informations en couleurs.
Le type d'informations affich ...
Dépose-repose de la pompe d'assistance sur moteur à essence
Dépose
Déposer le boitier de filtre à air, la canalisations d'aspiration ainsi
que la durit de recyclage Dès vapeurs d'huile.
Detendre la courroie d'entrainement et la Déposer.
Débrancher les canalisations d'aspiration et de refoulemen ...